Cerrojos electromagnéticos

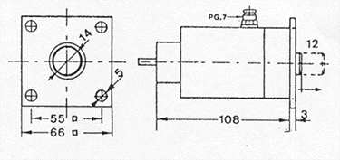
Modelo 820 Tabla de medidas

Cerrojo electromagnético de seguridad pasador de enclavamiento cilíndrico. Servicio permanente 100% c/continua

Modelo 82000
CÓDIGO SIN ACCIONAMIENTO ELÉCT
82000 ABIERTO
TENSIÓN DE ALIMENTACIÓN OPCIONAL
Modelo 820. Measurement table
Medidas expresadas en mm

Cerrojo electromagnético de seguridad. Pasador de enclavamiento cilíndrico. Servicio permanente 100% c/continua

Modelo 82020
CÓDIGO SIN ACCIONAMIENTO ELÉCT
82020 CERRADO
TENSIÓN DE ALIMENTACIÓN OPCIONAL
Modelo 820
Medidas expresadas en mm